专利数据库
统计分析
产业报告
专利数据监控
产业人才
行业动态
产业政策法规
维权援助
个人中心
详情
文本
图像
标题
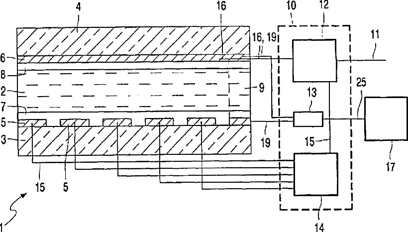
Liquid crystal display device
授权日
2005-05-17
公开(公告)号
US6894672
申请日
2001-03-08
公开(公告)日
2005-05-17
当前申请(专利权)人
TPO HONG KONG HOLDING LIMITED
发明人
RUIGT, ADOLPHE JOHANNES GERARDUS
简单同族
AT302429T | CN1180291C | CN1364244A | DE60112677D1 | DE60112677T2 | EP1181621A1 | EP1181621B1 | JP2003527638A | JP4860878B2 | KR100771175B1 | KR1020020010652A | TW549469U | US20030189536A1 | US6894672 | WO2001069310A1
简单同族成员数量
15
简单同族被引用专利总数
83
诉讼案件数
0
法律状态/事件
未缴年费 | 权利转移
抱歉,您的浏览器不支持PDF预览,请点击链接下载PDF文件