专利数据库
统计分析
产业报告
专利数据监控
产业人才
行业动态
产业政策法规
维权援助
个人中心
详情
文本
图像
标题
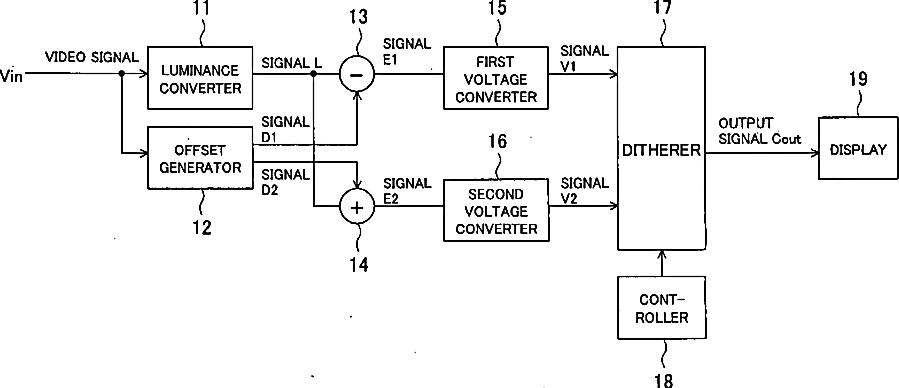
Image Display Device and Image Display Method
授权日
1900-01-01
公开(公告)号
US20080272998A1
申请日
2005-07-15
公开(公告)日
2008-11-06
当前申请(专利权)人
SONY CORPORATION
发明人
YANO, TOMOYA | SHIROCHI, YOSHIKI | ISOBE, TOSHINOBU | IIDA, MAKIO
简单同族
EP1662474A1 | EP1662474A4 | JP4882745B2 | JPWO2006009106A1 | JPWO2006009106A5 | KR101115046B1 | KR1020070031262A | TW200617868A | TWI305340B | US20080272998A1 | WO2006009106A1
简单同族成员数量
11
简单同族被引用专利总数
51
诉讼案件数
0
法律状态/事件
撤回 | 权利转移
抱歉,您的浏览器不支持PDF预览,请点击链接下载PDF文件