专利数据库
统计分析
产业报告
专利数据监控
产业人才
行业动态
产业政策法规
维权援助
个人中心
详情
文本
图像
标题
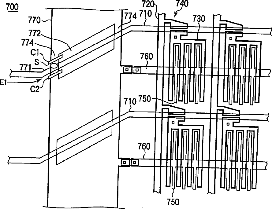
Substrate for display and liquid crystal display utilizing the same
授权日
1900-01-01
公开(公告)号
US20100195011A1
申请日
2010-04-13
公开(公告)日
2010-08-05
当前申请(专利权)人
SHARP KABUSHIKI KAISHA
发明人
TANAKA, YOSHINORI | NAGAOKA, KENICHI
简单同族
JP2006030627A | US20060012729A1 | US20100195011A1 | US20130294003A1 | US7724314
简单同族成员数量
5
简单同族被引用专利总数
85
诉讼案件数
0
法律状态/事件
撤回
抱歉,您的浏览器不支持PDF预览,请点击链接下载PDF文件