专利数据库
统计分析
产业报告
专利数据监控
产业人才
行业动态
产业政策法规
维权援助
个人中心
详情
文本
图像
标题
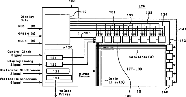
Liquid crystal display device
授权日
2012-10-30
公开(公告)号
US8299997
申请日
2008-05-30
公开(公告)日
2012-10-30
当前申请(专利权)人
PANASONIC LIQUID CRYSTAL DISPLAY CO., LTD. | JAPAN DISPLAY INC.
发明人
GOTO, MITSURU | HAYATA, HIROKO
简单同族
JP2002040997A | JP2002040997A5 | JP3892650B2 | KR100437947B1 | KR1020020014685A | TW518529B | US20020011971A1 | US20020030656A1 | US20060192737A1 | US20080231573A1 | US20120327050A1 | US20140036216A1 | US6853416 | US7034810 | US8299997 | US9372375
简单同族成员数量
16
简单同族被引用专利总数
99
诉讼案件数
0
法律状态/事件
授权 | 权利转移
抱歉,您的浏览器不支持PDF预览,请点击链接下载PDF文件