专利数据库
统计分析
产业报告
专利数据监控
产业人才
行业动态
产业政策法规
维权援助
个人中心
详情
文本
图像
标题
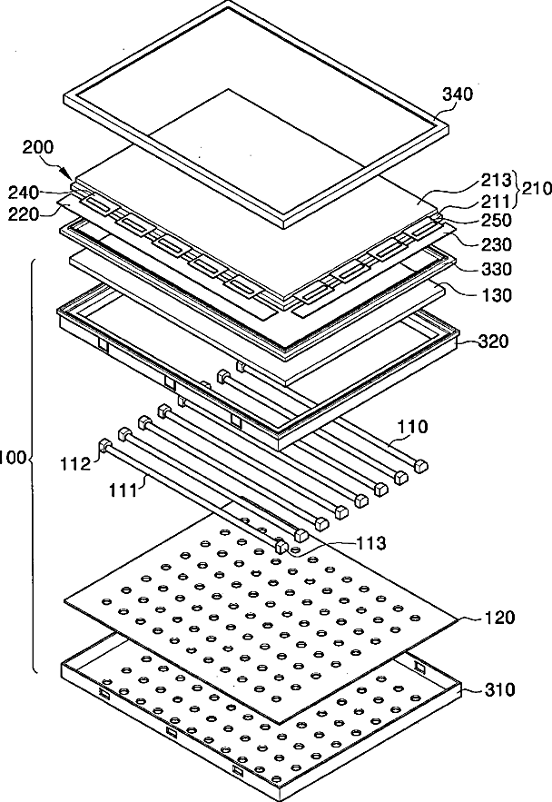
Lamp assembly and liquid crystal display device having the same
授权日
1900-01-01
公开(公告)号
US20040080925A1
申请日
2003-06-05
公开(公告)日
2004-04-29
当前申请(专利权)人
SAMSUNG DISPLAY CO., LTD.
发明人
MOON, SEUNG-HWAN
简单同族
CN100378539C | CN1492270A | JP2004145295A | JP2004145295A5 | JP4583012B2 | KR100774579B1 | KR1020040036954A | TW200406621A | TWI362534B | US20040080925A1 | US7044629
简单同族成员数量
11
简单同族被引用专利总数
68
诉讼案件数
0
法律状态/事件
授权 | 权利转移
抱歉,您的浏览器不支持PDF预览,请点击链接下载PDF文件