专利数据库
统计分析
产业报告
专利数据监控
产业人才
行业动态
产业政策法规
维权援助
个人中心
详情
文本
图像
标题
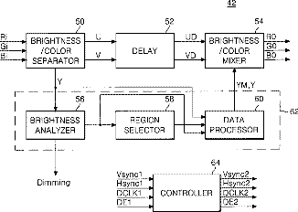
Method and apparatus for driving liquid crystal display
授权日
2010-03-30
公开(公告)号
US7688294
申请日
2004-06-28
公开(公告)日
2010-03-30
当前申请(专利权)人
LG DISPLAY CO., LTD.
发明人
BAIK, SEONG HO
简单同族
CN100371981C | CN1619629A | DE102004031438A1 | DE102004031438B4 | FR2862420A1 | FR2862420B1 | GB0414549D0 | GB2408138A | GB2408138B | JP2005148710A | JP4279215B2 | KR100592385B1 | KR1020050047354A | TW200518017A | TWI291158B | US20050104842A1 | US7688294
简单同族成员数量
17
简单同族被引用专利总数
102
诉讼案件数
0
法律状态/事件
授权 | 权利转移
抱歉,您的浏览器不支持PDF预览,请点击链接下载PDF文件