专利数据库
统计分析
产业报告
专利数据监控
产业人才
行业动态
产业政策法规
维权援助
个人中心
详情
文本
图像
标题
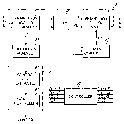
Method and apparatus for driving liquid crystal display
授权日
2007-10-30
公开(公告)号
US7289100
申请日
2004-06-28
公开(公告)日
2007-10-30
当前申请(专利权)人
LG DISPLAY CO., LTD.
发明人
SOHN, MIN HO | KIM, KI DUK
简单同族
CN100417186C | CN1637826A | KR101030544B1 | KR1020050068168A | US20050140616A1 | US7289100
简单同族成员数量
6
简单同族被引用专利总数
87
诉讼案件数
0
法律状态/事件
授权 | 权利转移
抱歉,您的浏览器不支持PDF预览,请点击链接下载PDF文件