专利数据库
统计分析
产业报告
专利数据监控
产业人才
行业动态
产业政策法规
维权援助
个人中心
详情
文本
图像
标题
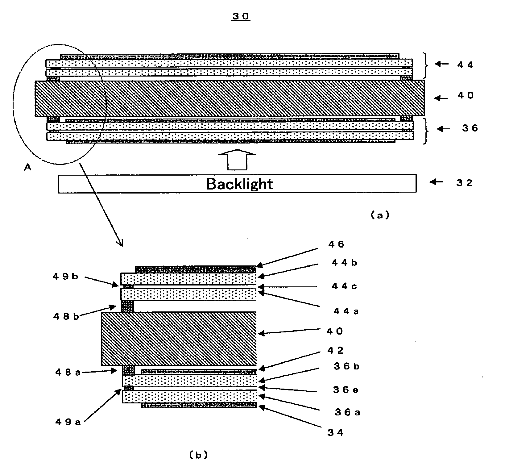
Stereoscopic picture display device and method of producing the same
授权日
1900-01-01
公开(公告)号
US20070019119A1
申请日
2004-03-24
公开(公告)日
2007-01-25
当前申请(专利权)人
138 EAST LCD ADVANCEMENTS LIMITED
发明人
TANAKA, SHINICHIRO | ARAMATSU, YOSHIAKI
简单同族
EP1607788A1 | KR100786918B1 | KR1020050119140A | TW200500645A | TWI277769B | US20070019119A1 | US7365809 | WO2004086127A1
简单同族成员数量
8
简单同族被引用专利总数
75
诉讼案件数
0
法律状态/事件
授权 | 权利转移
抱歉,您的浏览器不支持PDF预览,请点击链接下载PDF文件