专利数据库
统计分析
产业报告
专利数据监控
产业人才
行业动态
产业政策法规
维权援助
个人中心
详情
文本
图像
标题
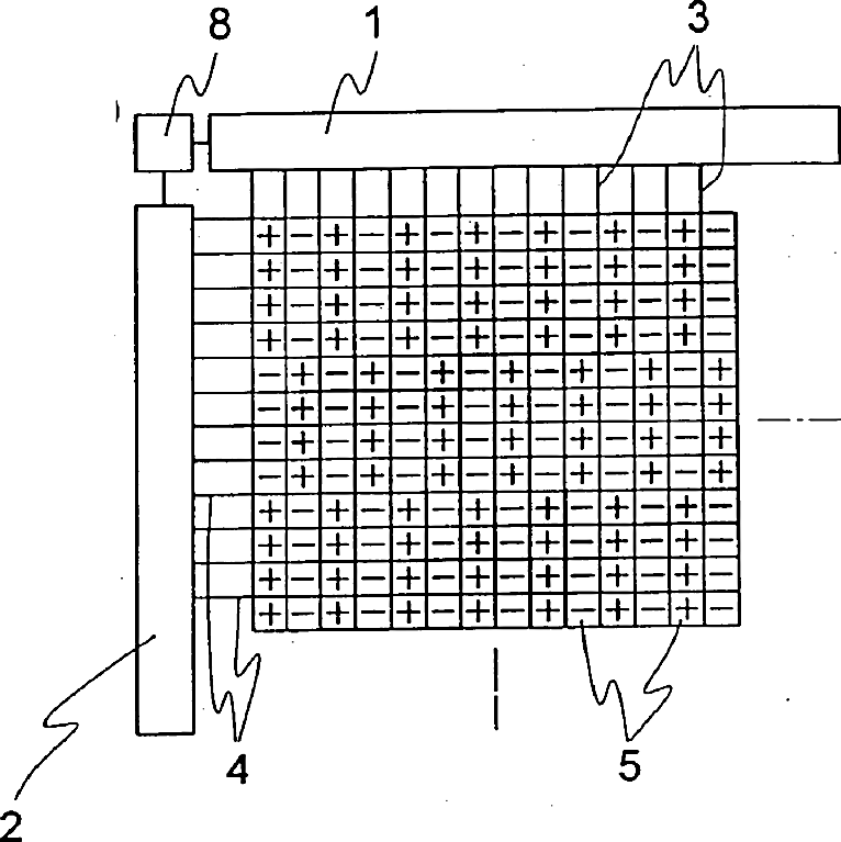
Method for driving liquid crystal display apparatus
授权日
1900-01-01
公开(公告)号
US20030122770A1
申请日
2003-02-19
公开(公告)日
2003-07-03
当前申请(专利权)人
MITSUBISHI DENKI KABUSHIKI KAISHA
发明人
NISHIMURA, MASARU | KOHNO, YASUHIKO
简单同族
KR100326909B1 | KR1019990044816A | TW504600B | US20030122770A1 | US6400350 | US6583778 | US6781568
简单同族成员数量
7
简单同族被引用专利总数
79
诉讼案件数
0
法律状态/事件
期限届满
抱歉,您的浏览器不支持PDF预览,请点击链接下载PDF文件