专利数据库
统计分析
产业报告
专利数据监控
产业人才
行业动态
产业政策法规
维权援助
个人中心
详情
文本
图像
标题
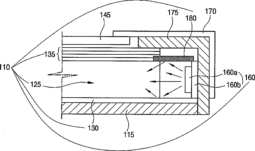
Backlight unit and liquid crystal display module including the same
授权日
1900-01-01
公开(公告)号
US20080225203A1
申请日
2007-12-31
公开(公告)日
2008-09-18
当前申请(专利权)人
LG DISPLAY CO. LTD.
发明人
KIM, YONG-KUN
简单同族
KR1020080083411A | US20080225203A1 | US7800711
简单同族成员数量
3
简单同族被引用专利总数
80
诉讼案件数
0
法律状态/事件
授权 | 权利转移
抱歉,您的浏览器不支持PDF预览,请点击链接下载PDF文件