专利数据库
统计分析
产业报告
专利数据监控
产业人才
行业动态
产业政策法规
维权援助
个人中心
详情
文本
图像
标题
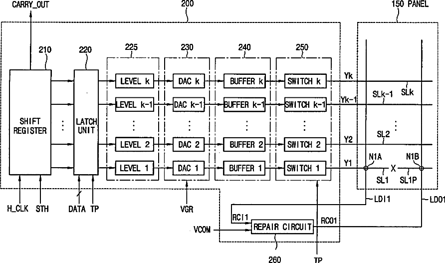
Source line repair circuit, source driver circuit, liquid crystal display device with source line repair function, and method of repairing source line
授权日
1900-01-01
公开(公告)号
US20050110738A1
申请日
2004-10-15
公开(公告)日
2005-05-26
当前申请(专利权)人
SAMSUNG ELECTRONICS CO., LTD.
发明人
KIM, KYUNG-MYUN | CHOI, CHANG-HWE
简单同族
KR100608106B1 | KR1020050048878A | TW200519825A | TWI378430B | US20050110738A1 | US7436381
简单同族成员数量
6
简单同族被引用专利总数
76
诉讼案件数
0
法律状态/事件
未缴年费 | 权利转移
抱歉,您的浏览器不支持PDF预览,请点击链接下载PDF文件