专利数据库
统计分析
产业报告
专利数据监控
产业人才
行业动态
产业政策法规
维权援助
个人中心
详情
文本
图像
标题
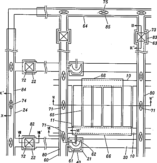
Liquid crystal displays and manufacturing methods thereof
授权日
1900-01-01
公开(公告)号
US20040257511A1
申请日
2004-07-15
公开(公告)日
2004-12-23
当前申请(专利权)人
SAMSUNG ELECTRONICS CO., LTD.
发明人
SONG, JUN-HO | LEE, KYEONG-NAM
简单同族
TWI266923B | US20010040647A1 | US20020126232A1 | US20040257511A1 | US6215541 | US6411358 | US6856372 | US7961263
简单同族成员数量
8
简单同族被引用专利总数
171
诉讼案件数
0
法律状态/事件
未缴年费 | 权利转移
抱歉,您的浏览器不支持PDF预览,请点击链接下载PDF文件