专利数据库
统计分析
产业报告
专利数据监控
产业人才
行业动态
产业政策法规
维权援助
个人中心
详情
文本
图像
标题
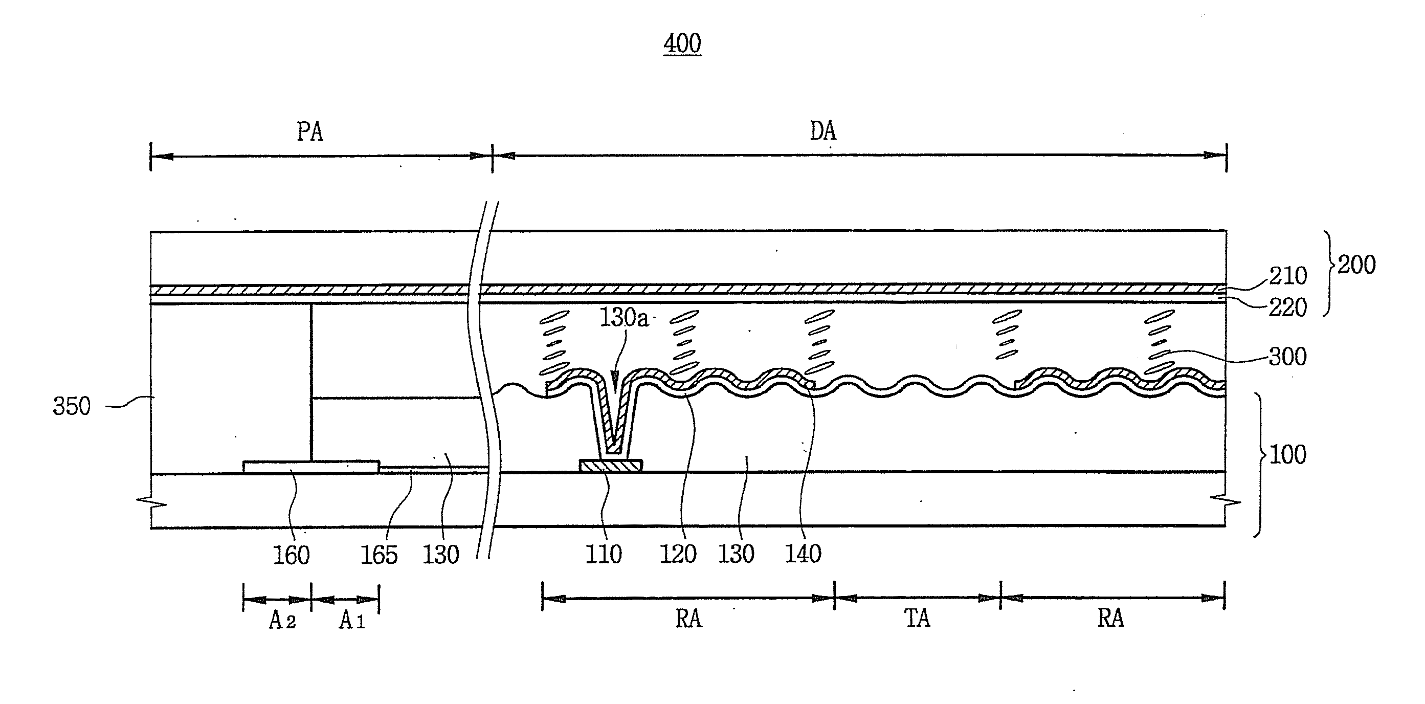
Liquid crystal display device
授权日
1900-01-01
公开(公告)号
US20110051072A1
申请日
2010-10-22
公开(公告)日
2011-03-03
当前申请(专利权)人
SAMSUNG DISPLAY CO., LTD.
发明人
LEE, DONG-HO
简单同族
AU2003219608A1 | CN100533231C | CN1729422A | JP2006514320A | JP4883910B2 | KR100911470B1 | KR1020040069682A | TW200413798A | TWI362541B | US10031386 | US10416510 | US20040150771A1 | US20110051072A1 | US20110194064A1 | US20150153603A1 | US20150153604A1 | US20180348566A1 | US7944539 | US8867009 | US8958045 | US9785024 | WO2004068228A1
简单同族成员数量
22
简单同族被引用专利总数
59
诉讼案件数
0
法律状态/事件
授权 | 权利转移
抱歉,您的浏览器不支持PDF预览,请点击链接下载PDF文件