专利数据库
统计分析
产业报告
专利数据监控
产业人才
行业动态
产业政策法规
维权援助
个人中心
详情
文本
图像
标题
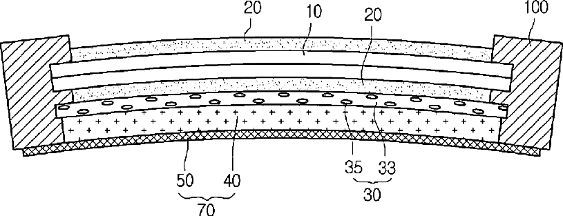
Display device and method for manufacturing thereof
授权日
2013-10-01
公开(公告)号
US8547495
申请日
2008-06-09
公开(公告)日
2013-10-01
当前申请(专利权)人
LG DISPLAY CO., LTD.
发明人
LEE, JUNG MOK
简单同族
CN101681040A | CN101681040B | JP2010529515A | JP5525442B2 | US20100171900A1 | US8547495 | WO2008153293A2 | WO2008153293A3
简单同族成员数量
8
简单同族被引用专利总数
68
诉讼案件数
0
法律状态/事件
授权 | 权利转移
抱歉,您的浏览器不支持PDF预览,请点击链接下载PDF文件