专利数据库
统计分析
产业报告
专利数据监控
产业人才
行业动态
产业政策法规
维权援助
个人中心
详情
文本
图像
标题
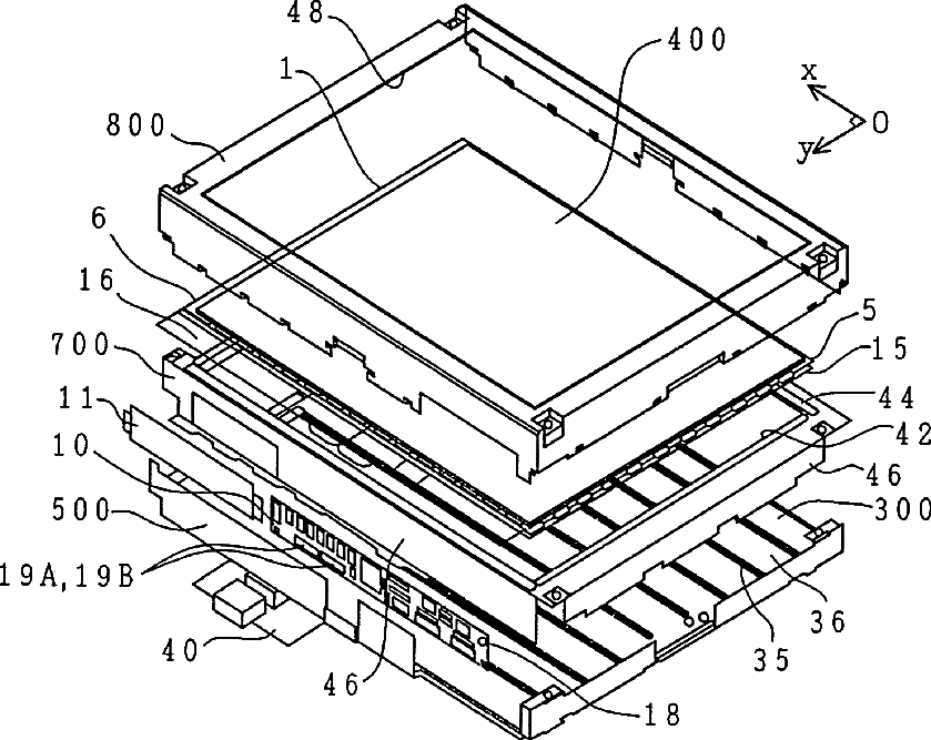
Liquid Crystal Display
授权日
1900-01-01
公开(公告)号
US20090115934A1
申请日
2009-01-02
公开(公告)日
2009-05-07
当前申请(专利权)人
PANASONIC LIQUID CRYSTAL DISPLAY CO., LTD. | HITACHI DISPLAYS, LTD.
发明人
NISHIYAMA, SEIICHI | TAKAKU, SHIGETAKE | TAKEDA, YOSHIHARU | MIKOSHIBA, SHIGEO | SHIGA, TOMOKAZU | KASHIMOTO, KOJI
简单同族
JP2000162593A | JP3688915B2 | KR100758239B1 | KR1020000035728A | TW507093B | US20020027774A1 | US20060077659A1 | US20060268192A1 | US20090115934A1 | US6331064 | US7077543 | US7283194 | US7473021 | US7753578
简单同族成员数量
14
简单同族被引用专利总数
151
诉讼案件数
0
法律状态/事件
未缴年费 | 权利转移
抱歉,您的浏览器不支持PDF预览,请点击链接下载PDF文件