专利数据库
统计分析
产业报告
专利数据监控
产业人才
行业动态
产业政策法规
维权援助
个人中心
详情
文本
图像
标题
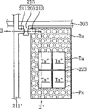
Substrate for a display apparatus
授权日
2010-03-30
公开(公告)号
US7688410
申请日
2007-10-12
公开(公告)日
2010-03-30
当前申请(专利权)人
SAMSUNG DISPLAY CO., LTD.
发明人
KIM, JAE-HYUN | PARK, WON-SANG | KIM, SANG-WOO | CHA, SUNG-EUN | LEE, JAE-YOUNG | LIM, JAE-IK
简单同族
CN100428014C | CN1637563A | TW200528831A | US20050146658A1 | US20080036949A1 | US20100134734A1 | US7688410 | US8130349
简单同族成员数量
8
简单同族被引用专利总数
73
诉讼案件数
0
法律状态/事件
未缴年费 | 权利转移
抱歉,您的浏览器不支持PDF预览,请点击链接下载PDF文件