专利数据库
统计分析
产业报告
专利数据监控
产业人才
行业动态
产业政策法规
维权援助
个人中心
详情
文本
图像
标题
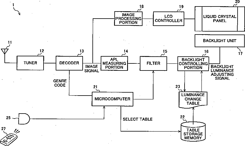
Liquid Crystal Display Apparatus
授权日
1900-01-01
公开(公告)号
US20080231581A1
申请日
2006-10-16
公开(公告)日
2008-09-25
当前申请(专利权)人
SHARP KABUSHIKI KAISHA
发明人
FUJINE, TOSHIYUKI | KOHASHIKAWA, SEIJI
简单同族
CN101099191A | CN101099191B | EP1939851A1 | EP1939851A4 | EP1939851B1 | JP2007143122A | JP3953507B2 | KR100863650B1 | KR1020070105351A | TW200721820A | TWI341687B | US20080231581A1 | US8547404 | WO2007046320A1
简单同族成员数量
14
简单同族被引用专利总数
88
诉讼案件数
0
法律状态/事件
授权 | 权利转移
抱歉,您的浏览器不支持PDF预览,请点击链接下载PDF文件