专利数据库
统计分析
产业报告
专利数据监控
产业人才
行业动态
产业政策法规
维权援助
个人中心
详情
文本
图像
标题
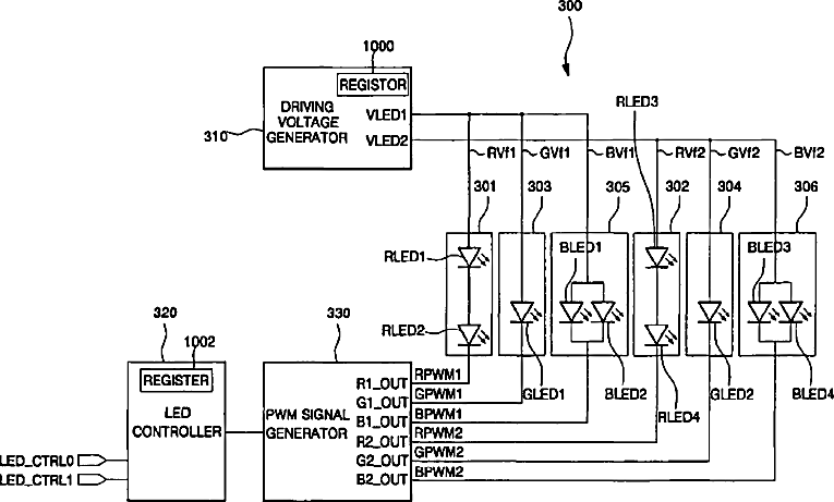
Back-light driving circuit in field sequential liquid crystal display
授权日
2008-06-24
公开(公告)号
US7391407
申请日
2004-11-29
公开(公告)日
2008-06-24
当前申请(专利权)人
SAMSUNG MOBILE DISPLAY CO., LTD.
发明人
KIM, TAE-SOO
简单同族
CN100447850C | CN1641739A | JP2005157394A | JP4216246B2 | KR100659531B1 | KR1020050051071A | US20050116922A1 | US7391407
简单同族成员数量
8
简单同族被引用专利总数
60
诉讼案件数
0
法律状态/事件
未缴年费 | 权利转移
抱歉,您的浏览器不支持PDF预览,请点击链接下载PDF文件