专利数据库
统计分析
产业报告
专利数据监控
产业人才
行业动态
产业政策法规
维权援助
个人中心
详情
文本
图像
标题
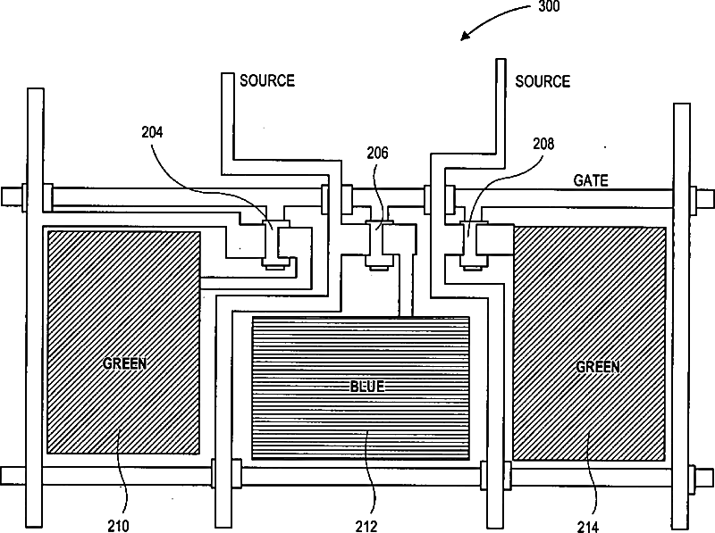
Transistor backplanes for liquid crystal displays comprising different sized subpixels
授权日
1900-01-01
公开(公告)号
US20050212741A1
申请日
2004-03-23
公开(公告)日
2005-09-29
当前申请(专利权)人
SAMSUNG DISPLAY CO., LTD.
发明人
SCHLEGEL, MATTHEW OSBOURNE
简单同族
US20050212741A1 | US7268758
简单同族成员数量
2
简单同族被引用专利总数
118
诉讼案件数
0
法律状态/事件
授权 | 权利转移
抱歉,您的浏览器不支持PDF预览,请点击链接下载PDF文件