专利数据库
统计分析
产业报告
专利数据监控
产业人才
行业动态
产业政策法规
维权援助
个人中心
详情
文本
图像
标题
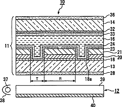
Transflective liquid crystal display device with no retardation layer on the transmissive regions, manufacturing method thereof and electronic apparatus
授权日
2007-05-15
公开(公告)号
US7218363
申请日
2003-03-12
公开(公告)日
2007-05-15
当前申请(专利权)人
BOE TECHNOLOGY GROUP CO., LTD.
发明人
OZAWA, KINYA | HIGA, MASAKATSU | IIJIMA, CHIYOAKI
简单同族
CN1219233C | CN1448764A | JP2004004494A | JP2004004494A5 | JP3788421B2 | KR100525874B1 | KR1020030079728A | TW200401916A | TWI232336B | US20040004681A1 | US20070115411A1 | US20080212001A1 | US7218363 | US7474367 | US7619705
简单同族成员数量
15
简单同族被引用专利总数
144
诉讼案件数
0
法律状态/事件
授权 | 权利转移
抱歉,您的浏览器不支持PDF预览,请点击链接下载PDF文件