专利数据库
统计分析
产业报告
专利数据监控
产业人才
行业动态
产业政策法规
维权援助
个人中心
详情
文本
图像
标题
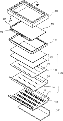
液晶显示装置
授权日
1900-01-01
公开(公告)号
CN101004516A
申请日
2006-12-15
公开(公告)日
2007-07-25
当前申请(专利权)人
乐金显示有限公司
发明人
洪熙政
简单同族
CN100510898C | CN101004516A | KR101248899B1 | KR1020070076879A | US20070171353A1 | US9360703
简单同族成员数量
6
简单同族被引用专利总数
77
诉讼案件数
0
法律状态/事件
授权
抱歉,您的浏览器不支持PDF预览,请点击链接下载PDF文件