专利数据库
统计分析
产业报告
专利数据监控
产业人才
行业动态
产业政策法规
维权援助
个人中心
详情
文本
图像
标题
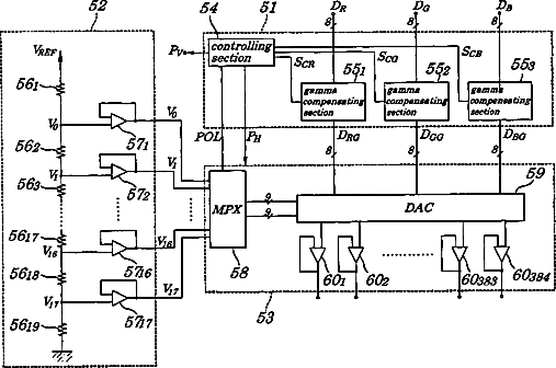
Driving method and driving circuit for color liquid crystal display
授权日
2010-03-02
公开(公告)号
US7671829
申请日
2005-10-05
公开(公告)日
2010-03-02
当前申请(专利权)人
VISTA PEAK VENTURES, LLC
发明人
SUGAWARA, NORIAKI | KOGA, KOUICHI
简单同族
JP2001134242A | JP3412583B2 | KR100367418B1 | KR1020010051546A | TW487899B | US20060071894A1 | US7006065 | US7671829
简单同族成员数量
8
简单同族被引用专利总数
58
诉讼案件数
0
法律状态/事件
授权 | 权利转移
抱歉,您的浏览器不支持PDF预览,请点击链接下载PDF文件