专利数据库
统计分析
产业报告
专利数据监控
产业人才
行业动态
产业政策法规
维权援助
个人中心
详情
文本
图像
标题
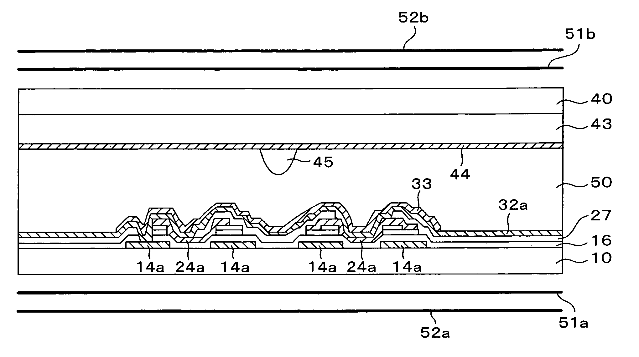
Liquid crystal display device and method of manufacturing the same
授权日
2010-08-03
公开(公告)号
US7768603
申请日
2005-04-12
公开(公告)日
2010-08-03
当前申请(专利权)人
AU OPTRONICS CORPORATION
发明人
TASAKA, YASUTOSHI | YOSHIDA, HIDEFUMI | TASHIRO, KUNIHIRO | TANAKA, YOSHINORI | DOI, SEIJI | ODA, TOMOSHIGE | TSUSHIMA, ISAO
简单同族
JP2005345757A | JP4499481B2 | KR100799440B1 | KR1020060047724A | TW200605361A | TWI292956B | US20050270447A1 | US7768603
简单同族成员数量
8
简单同族被引用专利总数
84
诉讼案件数
0
法律状态/事件
授权 | 权利转移
抱歉,您的浏览器不支持PDF预览,请点击链接下载PDF文件