专利数据库
统计分析
产业报告
专利数据监控
产业人才
行业动态
产业政策法规
维权援助
个人中心
详情
文本
图像
标题
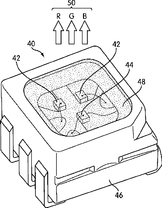
Light emitting diode based backlighting for color liquid crystal displays
授权日
1900-01-01
公开(公告)号
US20080151143A1
申请日
2007-10-15
公开(公告)日
2008-06-26
当前申请(专利权)人
INTEMATIX CORPORATION
发明人
LI, YI-QUN | LIU, GORDON | DONG, YI
简单同族
EP2074476A1 | JP2010507217A | JP5171833B2 | KR1020090080076A | TW200830002A | US20080151143A1 | WO2008051397A1
简单同族成员数量
7
简单同族被引用专利总数
68
诉讼案件数
0
法律状态/事件
撤回 | 质押 | 权利转移
抱歉,您的浏览器不支持PDF预览,请点击链接下载PDF文件