专利数据库
统计分析
产业报告
专利数据监控
产业人才
行业动态
产业政策法规
维权援助
个人中心
详情
文本
图像
标题
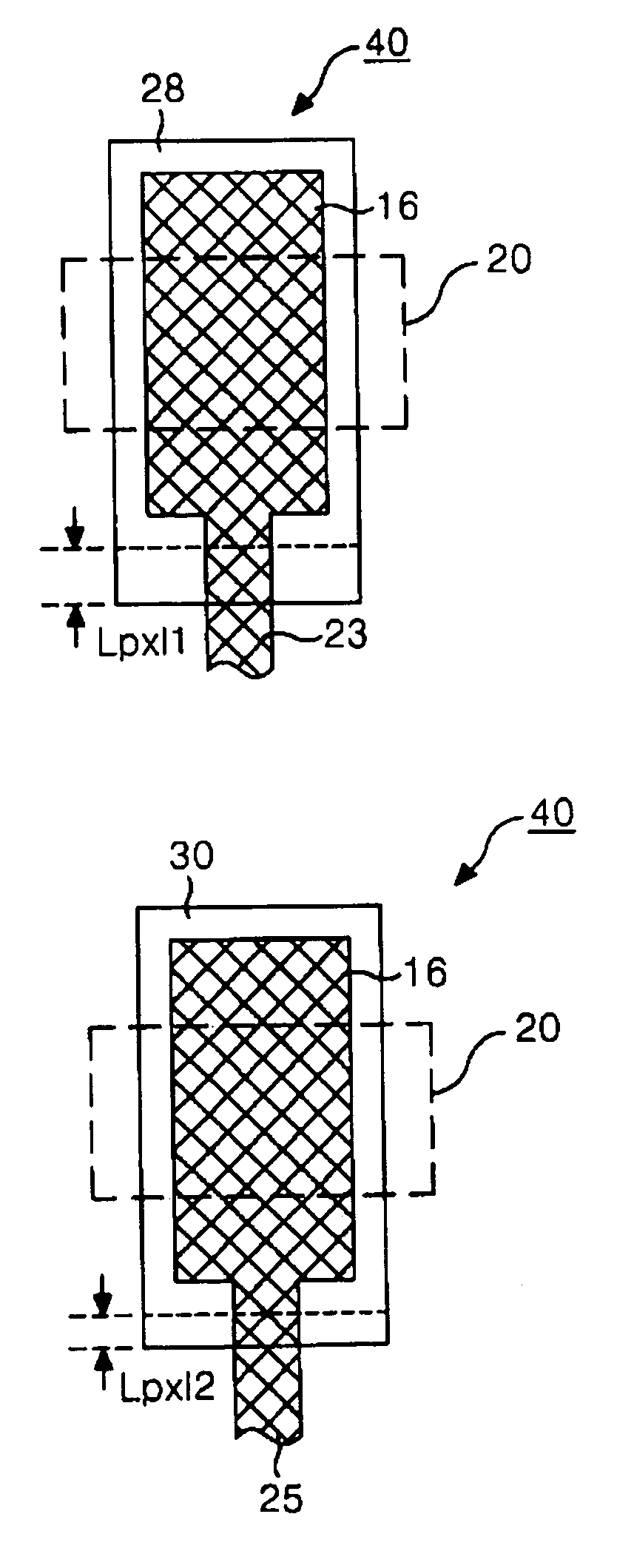
Liquid crystal display including pad members having different length
授权日
2006-05-23
公开(公告)号
US7050135
申请日
2001-06-29
公开(公告)日
2006-05-23
当前申请(专利权)人
LG DISPLAY CO., LTD.
发明人
KIM, HONG JIN
简单同族
DE10139095A1 | DE10139095B4 | FR2815430A1 | FR2815430B1 | GB0118017D0 | GB0308000D0 | GB0308001D0 | GB2369713A | GB2369713B | GB2384360A | GB2384360B | GB2384361A | GB2384361B | JP2002139741A | JP4050017B2 | KR100806808B1 | KR1020020030699A | US20020044242A1 | US20050237468A1 | US20080018846A1 | US20090066902A1 | US20100039604A1 | US7050135 | US7256857 | US7456925 | US7626673 | US7911575
简单同族成员数量
27
简单同族被引用专利总数
67
诉讼案件数
0
法律状态/事件
授权 | 权利转移
抱歉,您的浏览器不支持PDF预览,请点击链接下载PDF文件