专利数据库
统计分析
产业报告
专利数据监控
产业人才
行业动态
产业政策法规
维权援助
个人中心
详情
文本
图像
标题
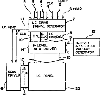
Multiple-tone display system
授权日
2006-09-12
公开(公告)号
US7106289
申请日
2004-11-17
公开(公告)日
2006-09-12
当前申请(专利权)人
PANASONIC LIQUID CRYSTAL DISPLAY CO., LTD.
发明人
KASAI, NARUHIKO | MANO, HIROYUKI | NISHITANI, SHIGEYUKI | TAKITA, ISAO | TAKAHASHI, KOHJI
简单同族
JP1994012034A | JP2000200073A | JP2000200074A | JP2000200075A | JP2000200076A | JP2003195837A | JP2006293403A | JP3446706B2 | JP3446707B2 | JP3477734B2 | JP3498742B2 | JP3848811B2 | JP3941832B2 | KR1019930018457A | KR1019960009585B1 | US20020033816A1 | US20020196222A1 | US20030206148A1 | US20050062700A1 | US20060221032A1 | US5495287 | US5610626 | US5786798 | US6100864 | US6191766 | US6320564 | US6437765 | US6587088 | US6888525 | US7106289
简单同族成员数量
30
简单同族被引用专利总数
83
诉讼案件数
0
法律状态/事件
未缴年费 | 权利转移
抱歉,您的浏览器不支持PDF预览,请点击链接下载PDF文件