专利数据库
统计分析
产业报告
专利数据监控
产业人才
行业动态
产业政策法规
维权援助
个人中心
详情
文本
图像
标题
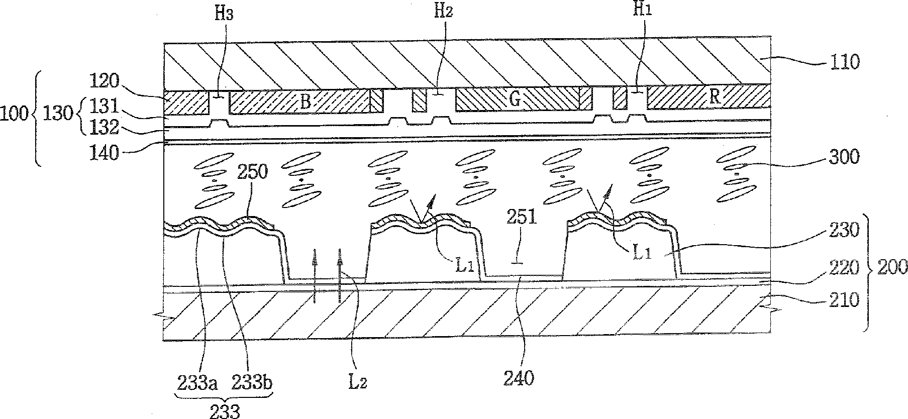
Color filter substrate and liquid crystal display apparatus having the same
授权日
1900-01-01
公开(公告)号
US20070109474A1
申请日
2006-12-27
公开(公告)日
2007-05-17
当前申请(专利权)人
SAMSUNG DISPLAY CO., LTD.
发明人
YANG, YONG-HO | LEE, DONG-HO
简单同族
JP2005055877A | JP4458965B2 | KR101007719B1 | KR1020050014591A | TW200510842A | US20050024560A1 | US20070109474A1 | US20070153176A1 | US7206042 | US7834961
简单同族成员数量
10
简单同族被引用专利总数
53
诉讼案件数
0
法律状态/事件
授权 | 权利转移
抱歉,您的浏览器不支持PDF预览,请点击链接下载PDF文件