专利数据库
统计分析
产业报告
专利数据监控
产业人才
行业动态
产业政策法规
维权援助
个人中心
详情
文本
图像
标题
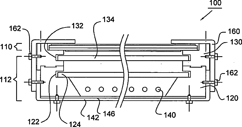
Liquid crystal display and light source device thereof
授权日
1900-01-01
公开(公告)号
US20040207996A1
申请日
2003-12-24
公开(公告)日
2004-10-21
当前申请(专利权)人
HANNSTAR DISPLAY CORP.
发明人
KAO, HUNG CHEN
简单同族
TW200422698A | TW594171B | US20040207996A1 | US6979114
简单同族成员数量
4
简单同族被引用专利总数
58
诉讼案件数
0
法律状态/事件
授权 | 权利转移
抱歉,您的浏览器不支持PDF预览,请点击链接下载PDF文件