专利数据库
统计分析
产业报告
专利数据监控
产业人才
行业动态
产业政策法规
维权援助
个人中心
详情
文本
图像
标题
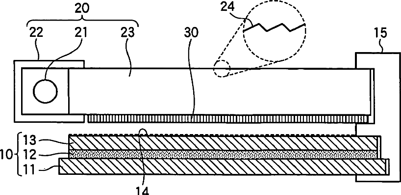
Reflection-type liquid crystal display device
授权日
2008-04-15
公开(公告)号
US7359011
申请日
2004-03-26
公开(公告)日
2008-04-15
当前申请(专利权)人
SHARP KABUSHIKI KAISHA
发明人
HAMADA, TETSUYA | TASHIRO, KUNIHIRO | SUGAWARA, MARI | SUZUKI, TOSHIHIRO
简单同族
JP2004302135A | JP4294992B2 | KR100809794B1 | KR1020040088380A | TW200426730A | TWI235972B | US20040223094A1 | US20080074591A1 | US20110181815A1 | US7359011 | US8134661
简单同族成员数量
11
简单同族被引用专利总数
67
诉讼案件数
0
法律状态/事件
未缴年费 | 权利转移
抱歉,您的浏览器不支持PDF预览,请点击链接下载PDF文件