专利数据库
统计分析
产业报告
专利数据监控
产业人才
行业动态
产业政策法规
维权援助
个人中心
详情
文本
图像
标题
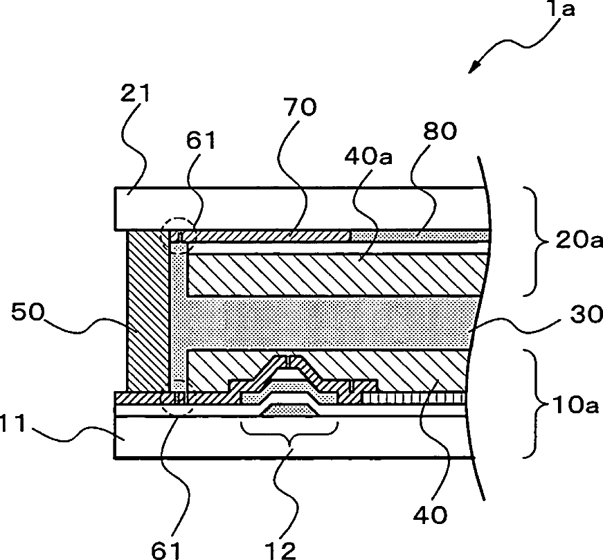
Liquid crystal display device and method of manufacturing the same
授权日
1900-01-01
公开(公告)号
US20070091247A1
申请日
2006-10-18
公开(公告)日
2007-04-26
当前申请(专利权)人
BEIHAI HUIKE PHOTOELECTRIC TECHNOLOGY CO., LTD.
发明人
ONDA, SHINYA
简单同族
CN100545717C | CN1952761A | JP2007114586A | JP4768393B2 | KR100881804B1 | KR1020070043631A | TW200717093A | TWI368776B | US20070091247A1 | US7646458
简单同族成员数量
10
简单同族被引用专利总数
82
诉讼案件数
0
法律状态/事件
授权 | 权利转移
抱歉,您的浏览器不支持PDF预览,请点击链接下载PDF文件