专利数据库
统计分析
产业报告
专利数据监控
产业人才
行业动态
产业政策法规
维权援助
个人中心
详情
文本
图像
标题
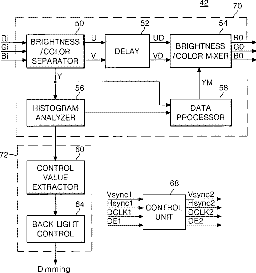
Method and apparatus for driving liquid crystal display
授权日
2008-11-11
公开(公告)号
US7450104
申请日
2004-06-28
公开(公告)日
2008-11-11
当前申请(专利权)人
LG DISPLAY CO., LTD.
发明人
BAIK, SEONG HO
简单同族
CN100367340C | CN1619627A | JP2005148708A | JP4272595B2 | KR100580552B1 | KR1020050047358A | US20050104839A1 | US7450104
简单同族成员数量
8
简单同族被引用专利总数
140
诉讼案件数
0
法律状态/事件
授权 | 权利转移
抱歉,您的浏览器不支持PDF预览,请点击链接下载PDF文件