专利数据库
统计分析
产业报告
专利数据监控
产业人才
行业动态
产业政策法规
维权援助
个人中心
详情
文本
图像
标题
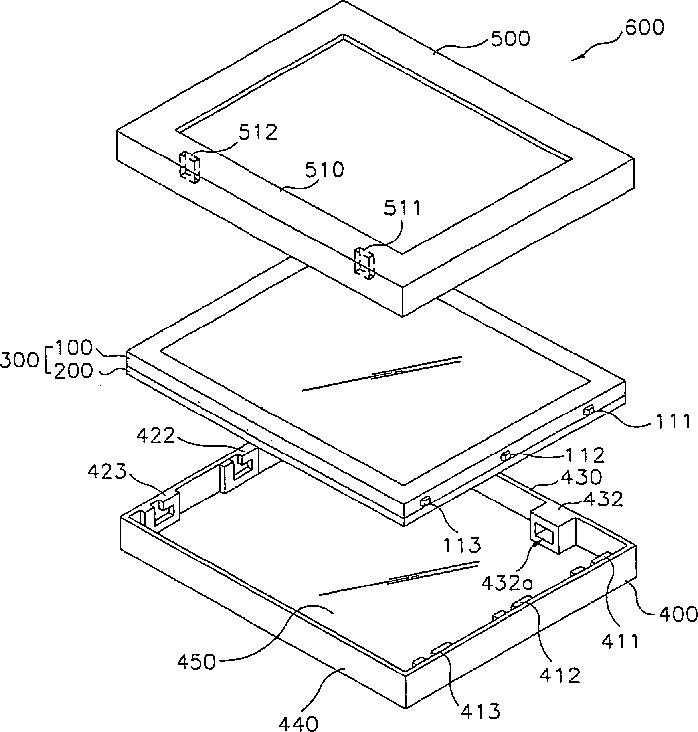
Liquid crystal display apparatus
授权日
1900-01-01
公开(公告)号
US20070008452A1
申请日
2006-09-12
公开(公告)日
2007-01-11
当前申请(专利权)人
SAMSUNG DISPLAY CO., LTD.
发明人
KIM, DONG-CHEOL | CHU, YOUNG-BEE | KANG, TAE-GIL | LEE, YOUNG-JAE | KIM, JUNG-KI | CHOI, JAE-CHANG | OH, JEONG-SEOK | KWAK, YONG-SEOK
简单同族
CN100489760C | CN1409207A | JP2003107434A | JP4319371B2 | KR100793729B1 | KR1020030028152A | US20030058380A1 | US20050179832A1 | US20070008452A1 | US6919937 | US7126651 | US7304693
简单同族成员数量
12
简单同族被引用专利总数
164
诉讼案件数
0
法律状态/事件
未缴年费 | 权利转移
抱歉,您的浏览器不支持PDF预览,请点击链接下载PDF文件