专利数据库
统计分析
产业报告
专利数据监控
产业人才
行业动态
产业政策法规
维权援助
个人中心
详情
文本
图像
标题
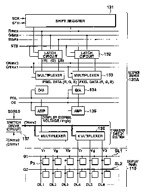
Display drive device and display apparatus having same
授权日
2009-03-31
公开(公告)号
US7511691
申请日
2004-12-27
公开(公告)日
2009-03-31
当前申请(专利权)人
CASIO COMPUTER CO., LTD.
发明人
HIRAYAMA, RYUICHI | KASHIYAMA, SHUNJI | INAGAKI, NAOKI
简单同族
CN100452132C | CN101359461A | CN1641728A | HK1079889A | HK1079889A1 | JP2005195703A | JP4168339B2 | KR100685227B1 | KR1020050067040A | TW200537417A | TWI263970B | US20050156862A1 | US20090146939A1 | US7511691 | US8294655
简单同族成员数量
15
简单同族被引用专利总数
95
诉讼案件数
0
法律状态/事件
授权 | 权利转移
抱歉,您的浏览器不支持PDF预览,请点击链接下载PDF文件