专利数据库
统计分析
产业报告
专利数据监控
产业人才
行业动态
产业政策法规
维权援助
个人中心
详情
文本
图像
标题
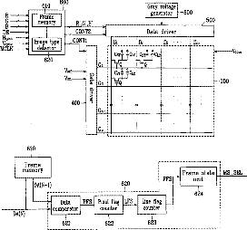
Apparatus and method for driving liquid crystal display and for determining type of image represented by image data
授权日
2008-04-22
公开(公告)号
US7362295
申请日
2004-03-11
公开(公告)日
2008-04-22
当前申请(专利权)人
SAMSUNG DISPLAY CO., LTD.
发明人
PARK, DONG-WON | KIM, SANG-SOO
简单同族
JP2004272270A | JP4807936B2 | KR100945577B1 | KR1020040080230A | TW200419236A | TWI323800B | US20040179002A1 | US20080198107A1 | US7362295
简单同族成员数量
9
简单同族被引用专利总数
106
诉讼案件数
0
法律状态/事件
未缴年费 | 权利转移
抱歉,您的浏览器不支持PDF预览,请点击链接下载PDF文件