专利数据库
统计分析
产业报告
专利数据监控
产业人才
行业动态
产业政策法规
维权援助
个人中心
详情
文本
图像
标题
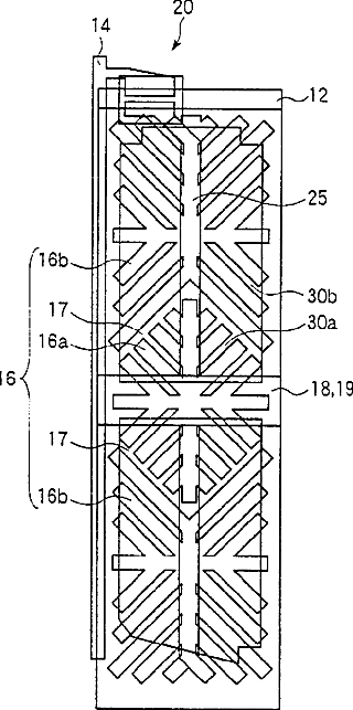
Liquid crystal display device
授权日
1900-01-01
公开(公告)号
US20100118233A1
申请日
2010-01-21
公开(公告)日
2010-05-13
当前申请(专利权)人
SHARP KABUSHIKI KAISHA
发明人
HANAOKA, KAZUTAKA | OHMURO, KATSUFUMI | TASHIRO, KUNIHIRO | HIROSAWA, JIN | SUGIURA, NORIO | KANII, KENGO | MAKIMOTO, SHOTA | OHNO, YASUHIRO | TSUSHIMA, ISAO | TANOSE, TOMONORI | TAKAGI, TAKASHI | FUJIKAWA, TETSUYA | SASAKI, TAKAHIRO
简单同族
JP2006330638A | JP4713946B2 | US20070103607A1 | US20100118233A1 | US20110234931A1 | US20130235293A1 | US7656474 | US7982829 | US8405802 | US8593594
简单同族成员数量
10
简单同族被引用专利总数
106
诉讼案件数
0
法律状态/事件
授权
抱歉,您的浏览器不支持PDF预览,请点击链接下载PDF文件