专利数据库
统计分析
产业报告
专利数据监控
产业人才
行业动态
产业政策法规
维权援助
个人中心
详情
文本
图像
标题
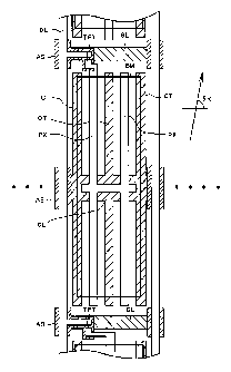
Liquid crystal display device having particular semiconductor layer
授权日
2007-07-31
公开(公告)号
US7251007
申请日
2005-06-16
公开(公告)日
2007-07-31
当前申请(专利权)人
PANASONIC LIQUID CRYSTAL DISPLAY CO., LTD.
发明人
ASHIZAWA, KEIICHIRO | HIKIBA, MASAYUKI | OHTA, MASUYUKI
简单同族
KR100326355B1 | KR1019990068095A | TW451099B | US20020057412A1 | US20030202148A1 | US20040160563A1 | US20050275784A1 | US20080013031A1 | US20090147202A1 | US6341003 | US6545736 | US6697142 | US6912033 | US7251007 | US7460201
简单同族成员数量
15
简单同族被引用专利总数
181
诉讼案件数
0
法律状态/事件
未缴年费 | 权利转移
抱歉,您的浏览器不支持PDF预览,请点击链接下载PDF文件