专利数据库
统计分析
产业报告
专利数据监控
产业人才
行业动态
产业政策法规
维权援助
个人中心
详情
文本
图像
标题
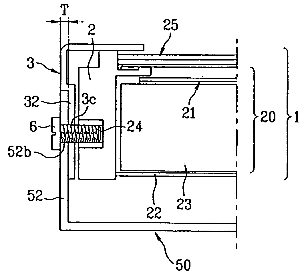
Mounting frame combination structure of liquid crystal display moudle
授权日
1900-01-01
公开(公告)号
US20060244876A1
申请日
2006-06-28
公开(公告)日
2006-11-02
当前申请(专利权)人
LG DISPLAY CO., LTD.
发明人
AHN, SAM YOUNG
简单同族
CN1301432C | CN1510474A | JP2004206095A | JP2008134659A | JP4829261B2 | KR100487435B1 | KR1020040056744A | US20040119907A1 | US20060244876A1 | US7095462 | US7830468
简单同族成员数量
11
简单同族被引用专利总数
97
诉讼案件数
0
法律状态/事件
授权 | 权利转移
抱歉,您的浏览器不支持PDF预览,请点击链接下载PDF文件