专利数据库
统计分析
产业报告
专利数据监控
产业人才
行业动态
产业政策法规
维权援助
个人中心
详情
文本
图像
标题
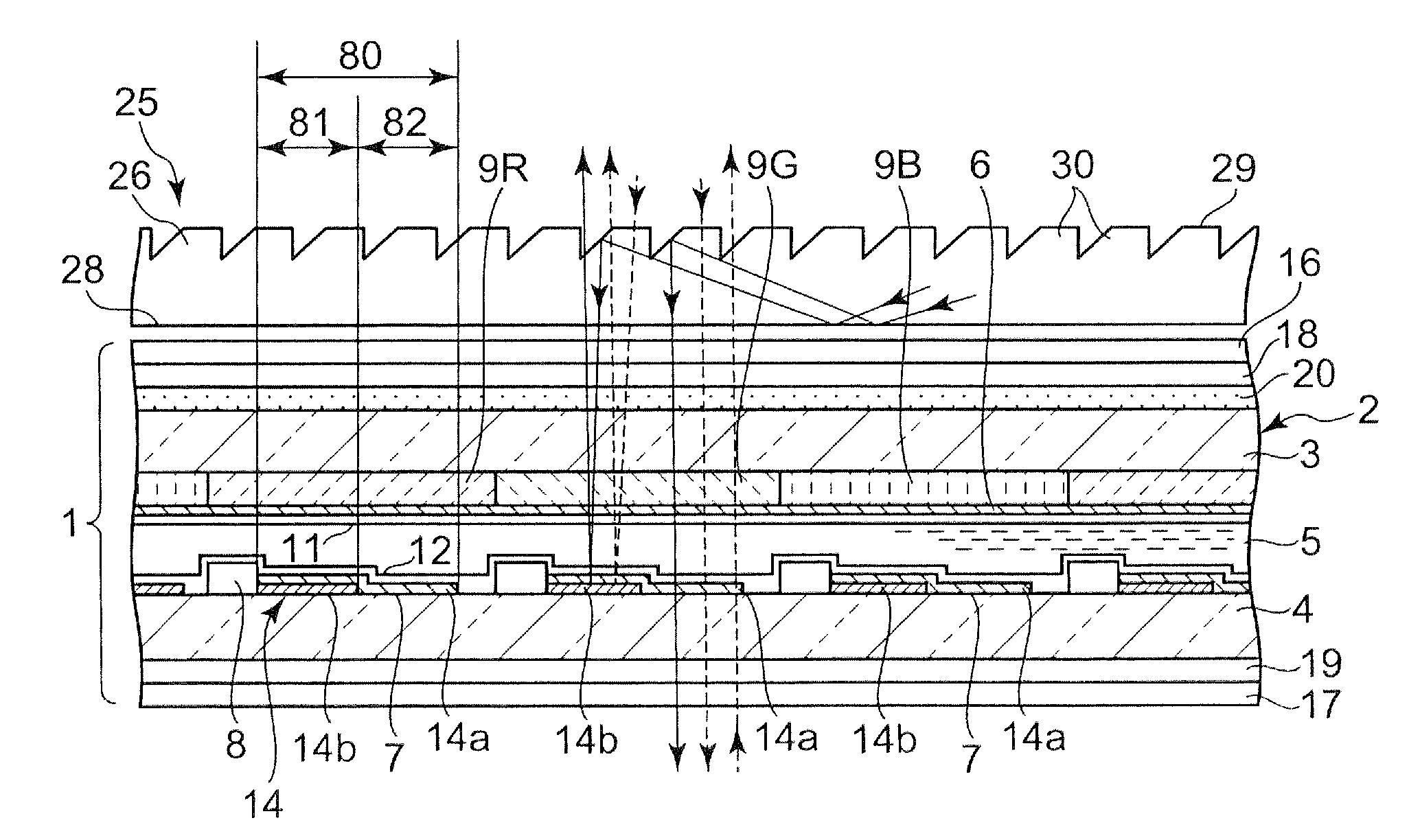
Liquid crystal display device viewable from both surfaces and portable apparatus using same
授权日
1900-01-01
公开(公告)号
US20090091685A1
申请日
2008-07-24
公开(公告)日
2009-04-09
当前申请(专利权)人
CASIO COMPUTER CO., LTD.
发明人
NISHINO, TOSHIHARU | ARAI, NORIHIRO | KOBAYASHI, KUNPEI
简单同族
CN100386678C | CN1708720A | DE60328519D1 | EP1570310A1 | EP1570310B1 | HK1086342A | HK1086342A1 | JP2004151217A | JP4333117B2 | KR1020050071629A | TW200424636A | TWI308970B | US20060012736A1 | US20090091685A1 | US7800715 | WO2004040361A1
简单同族成员数量
16
简单同族被引用专利总数
54
诉讼案件数
0
法律状态/事件
未缴年费
抱歉,您的浏览器不支持PDF预览,请点击链接下载PDF文件