专利数据库
统计分析
产业报告
专利数据监控
产业人才
行业动态
产业政策法规
维权援助
个人中心
详情
文本
图像
标题
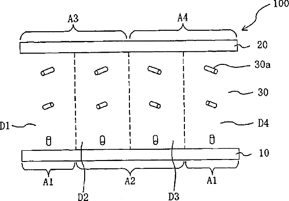
Liquid crystal display device and method for producing the same
授权日
2005-02-15
公开(公告)号
US6856368
申请日
2002-02-28
公开(公告)日
2005-02-15
当前申请(专利权)人
SHARP KABUSHIKI KAISHA
发明人
TERASHITA, SHINICHI | KIDO, MASAMI
简单同族
JP2002277877A | JP2002277877A5 | JP3771137B2 | US20020135725A1 | US20050117100A1 | US20060203167A1 | US6856368 | US7580101 | US8077279
简单同族成员数量
9
简单同族被引用专利总数
92
诉讼案件数
0
法律状态/事件
授权 | 权利转移
抱歉,您的浏览器不支持PDF预览,请点击链接下载PDF文件