专利数据库
统计分析
产业报告
专利数据监控
产业人才
行业动态
产业政策法规
维权援助
个人中心
详情
文本
图像
标题
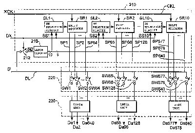
Data line driving circuit of electro-optical panel, control method thereof, electro-optical device, and electronic apparatus
授权日
2004-01-27
公开(公告)号
US6683596
申请日
2001-04-25
公开(公告)日
2004-01-27
当前申请(专利权)人
SHENZHEN CHINA STAR OPTOELECTRONICS TECHNOLOGY CO., LTD.
发明人
OZAWA, TOKURO
简单同族
CN1172284C | CN1320900A | JP2001306014A | JP3835113B2 | KR100427518B1 | KR1020020004810A | TWI230916B | US20020000969A1 | US6683596
简单同族成员数量
9
简单同族被引用专利总数
140
诉讼案件数
0
法律状态/事件
授权 | 权利转移
抱歉,您的浏览器不支持PDF预览,请点击链接下载PDF文件