专利数据库
统计分析
产业报告
专利数据监控
产业人才
行业动态
产业政策法规
维权援助
个人中心
详情
文本
图像
标题
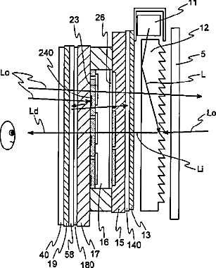
Double-sided liquid crystal display device
授权日
2006-11-21
公开(公告)号
US7139053
申请日
2005-09-16
公开(公告)日
2006-11-21
当前申请(专利权)人
MITSUBISHI DENKI KABUSHIKI KAISHA
发明人
YUUKI, AKIMASA | SASAGAWA, TOMOHIRO | SUGAWARA, NAOTO | YAMAMOTO, TAKASHI
简单同族
CN1302320C | CN1516822A | EP1426810A1 | EP1426810A4 | EP1942368A1 | JP2003161941A | JP3941561B2 | TW591291B | US20040027513A1 | US20060007372A1 | US7002649 | US7139053 | WO2003025662A1
简单同族成员数量
13
简单同族被引用专利总数
128
诉讼案件数
0
法律状态/事件
未缴年费
抱歉,您的浏览器不支持PDF预览,请点击链接下载PDF文件