专利数据库
统计分析
产业报告
专利数据监控
产业人才
行业动态
产业政策法规
维权援助
个人中心
详情
文本
图像
标题
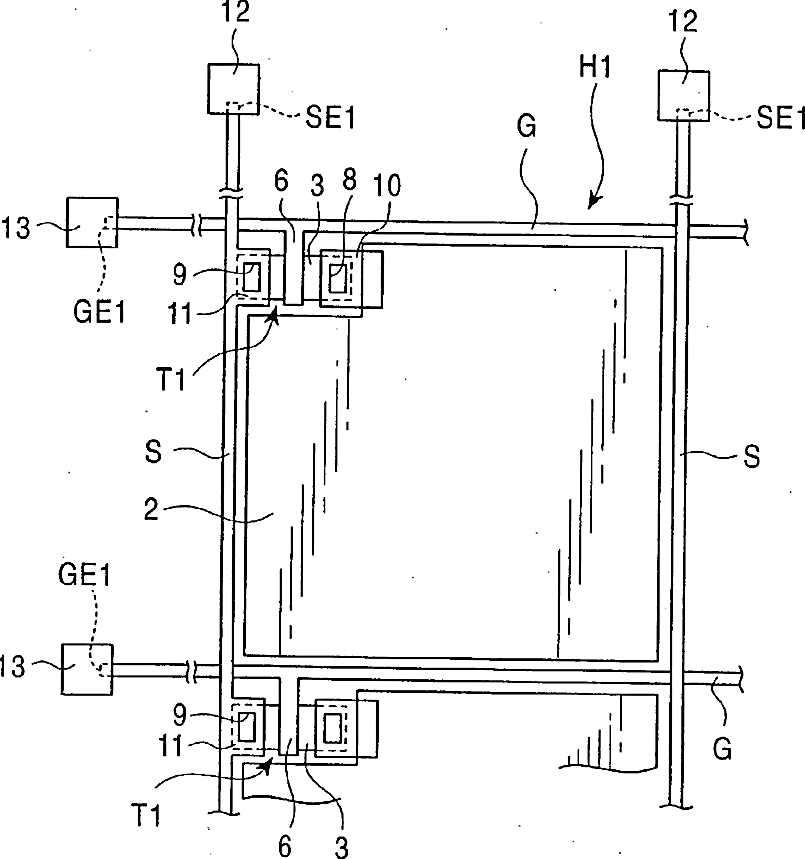
Thin-film transistor substrate and liquid crystal display
授权日
1900-01-01
公开(公告)号
US20030164498A1
申请日
2003-03-07
公开(公告)日
2003-09-04
当前申请(专利权)人
LG DISPLAY CO., LTD.
发明人
SUNG, CHAE GEE | CHUL, JO GYOO | SASAKI, MAKOTO | ARAI, KAZUYUKI
简单同族
JP2000330134A | KR100357218B1 | KR1020000076790A | US20030164498A1 | US6649936 | US6852998
简单同族成员数量
6
简单同族被引用专利总数
125
诉讼案件数
0
法律状态/事件
期限届满 | 权利转移
抱歉,您的浏览器不支持PDF预览,请点击链接下载PDF文件