专利数据库
统计分析
产业报告
专利数据监控
产业人才
行业动态
产业政策法规
维权援助
个人中心
详情
文本
图像
标题
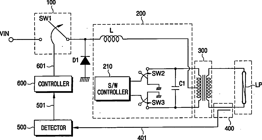
Apparatus for supplying power, backlight assembly and liquid crystal display apparatus having the same
授权日
1900-01-01
公开(公告)号
US20050242789A1
申请日
2003-08-22
公开(公告)日
2005-11-03
当前申请(专利权)人
WOOYOUNG CO., LTD. | SAMSUNG DISPLAY CO., LTD.
发明人
KANG, MOON-SHIK
简单同族
AU2003251215A1 | AU2003251215A8 | CN1701645A | JP2005536846A | KR100892584B1 | KR1020040018658A | US20050242789A1 | US7253565 | WO2004019312A2 | WO2004019312A3
简单同族成员数量
10
简单同族被引用专利总数
93
诉讼案件数
0
法律状态/事件
未缴年费 | 权利转移
抱歉,您的浏览器不支持PDF预览,请点击链接下载PDF文件