专利数据库
统计分析
产业报告
专利数据监控
产业人才
行业动态
产业政策法规
维权援助
个人中心
详情
文本
图像
标题
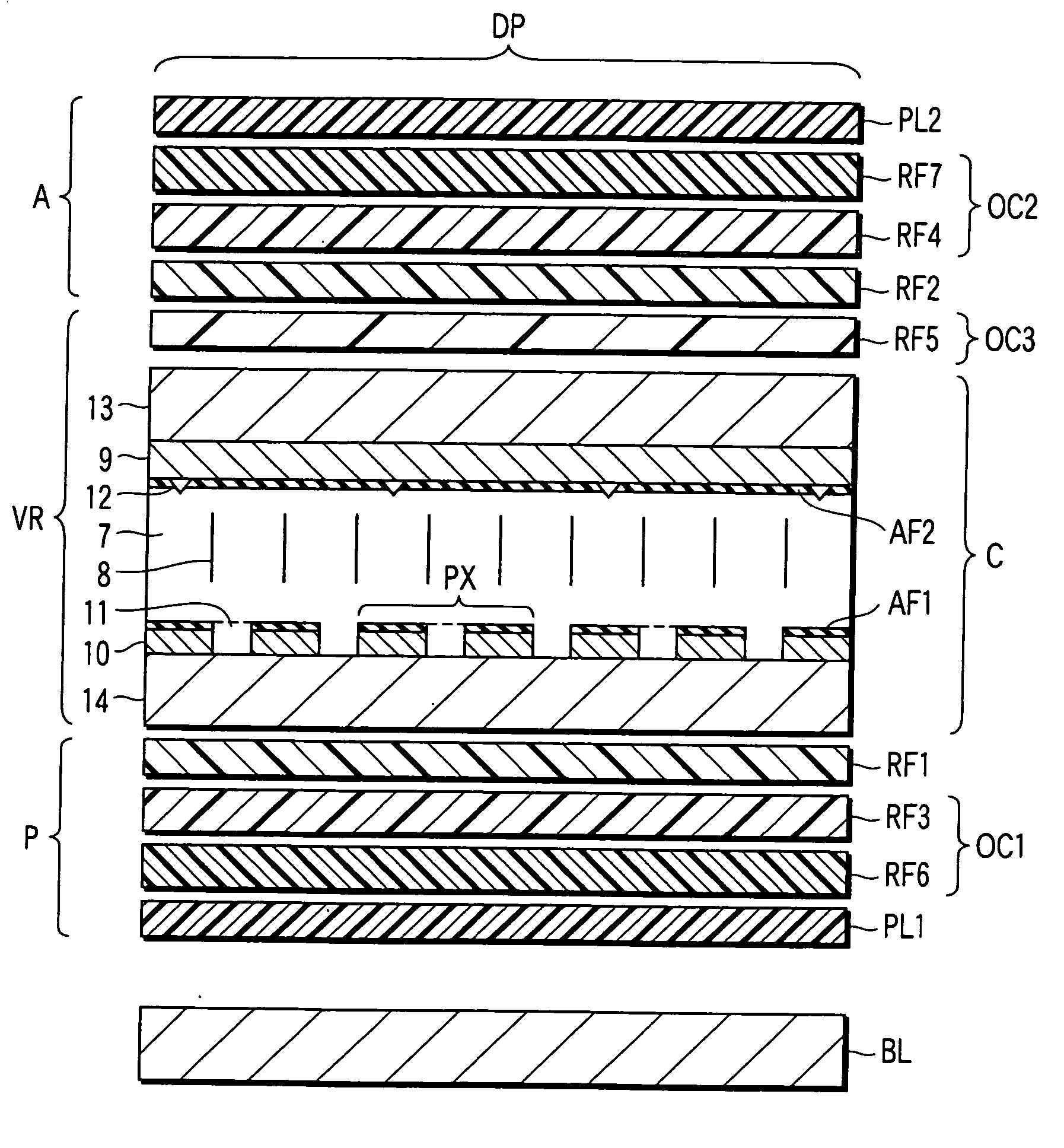
Liquid crystal display device
授权日
1900-01-01
公开(公告)号
US20060203162A1
申请日
2006-03-06
公开(公告)日
2006-09-14
当前申请(专利权)人
TOSHIBA MATSUSHITA DISPLAY TECHNOLOGY CO., LTD.
发明人
ITO, HIDEKI | MURAYAMA, AKIO | HISATAKE, YUUZO | TAGO, CHIGUSA
简单同族
JP2006251050A | JP2006251050A5 | US20060203162A1
简单同族成员数量
3
简单同族被引用专利总数
79
诉讼案件数
0
法律状态/事件
撤回 | 权利转移
抱歉,您的浏览器不支持PDF预览,请点击链接下载PDF文件