专利数据库
统计分析
产业报告
专利数据监控
产业人才
行业动态
产业政策法规
维权援助
个人中心
详情
文本
图像
标题
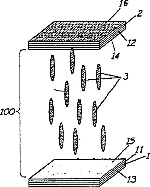
Liquid crystal display devices having wide viewing angle and improved contrast ratio
授权日
1900-01-01
公开(公告)号
US20040046916A1
申请日
2003-09-04
公开(公告)日
2004-03-11
当前申请(专利权)人
SAMSUNG DISPLAY CO., LTD.
发明人
LYU, JAE-JIN | LEE, HEA-RI | KIM, KYEONG-HYEON | CHEN, JIAN-MIN
简单同族
KR100223601B1 | KR1019980085576A | US20020149733A1 | US20040046916A1 | US20050280760A1 | US20100296043A1 | US20120069287A1 | US20140375942A1 | US6646701 | US6943858 | US7929088 | US8094272 | US8767152 | US9217896
简单同族成员数量
14
简单同族被引用专利总数
127
诉讼案件数
0
法律状态/事件
期限届满 | 权利转移
抱歉,您的浏览器不支持PDF预览,请点击链接下载PDF文件