专利数据库
统计分析
产业报告
专利数据监控
产业人才
行业动态
产业政策法规
维权援助
个人中心
详情
文本
图像
标题
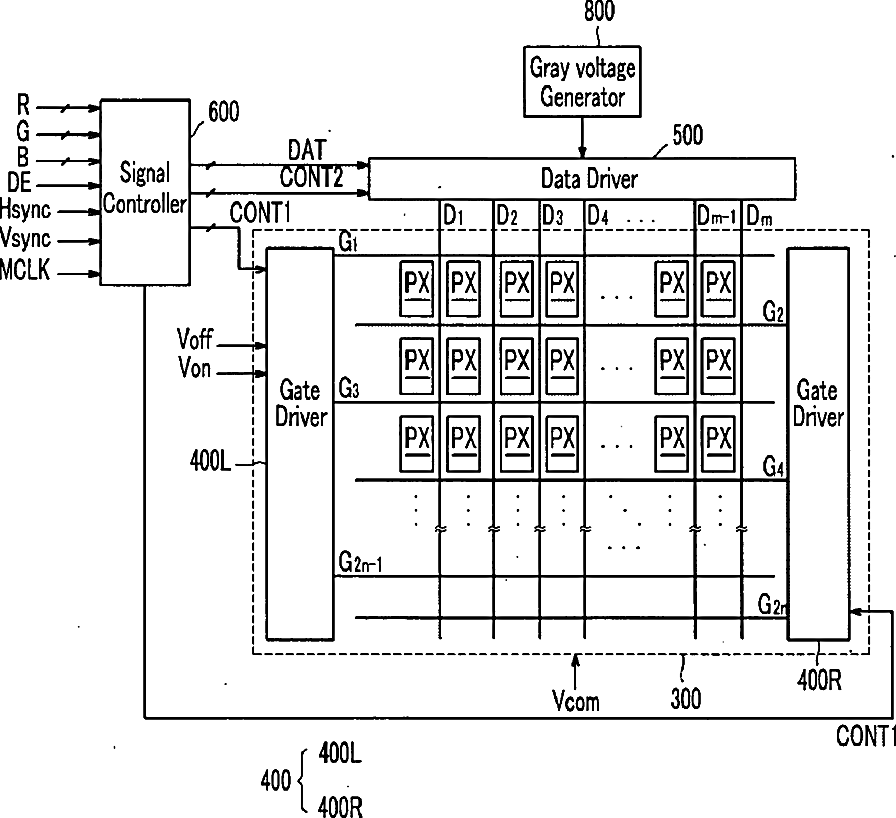
Liquid crystal display
授权日
1900-01-01
公开(公告)号
US20070164954A1
申请日
2007-01-16
公开(公告)日
2007-07-19
当前申请(专利权)人
SAMSUNG DISPLAY CO., LTD.
发明人
YANG, YONG-HO | YOON, JOO-SUN | JEONG, KI-HUN
简单同族
CN101788741A | CN101788741B | JP2007193340A | US10261377 | US10690982 | US20070164954A1 | US20130099262A1 | US20140132876A1 | US20170162160A1 | US20190243202A1 | US8334960 | US8638413 | US9606405
简单同族成员数量
13
简单同族被引用专利总数
58
诉讼案件数
0
法律状态/事件
授权 | 权利转移
抱歉,您的浏览器不支持PDF预览,请点击链接下载PDF文件