专利数据库
统计分析
产业报告
专利数据监控
产业人才
行业动态
产业政策法规
维权援助
个人中心
详情
文本
图像
标题
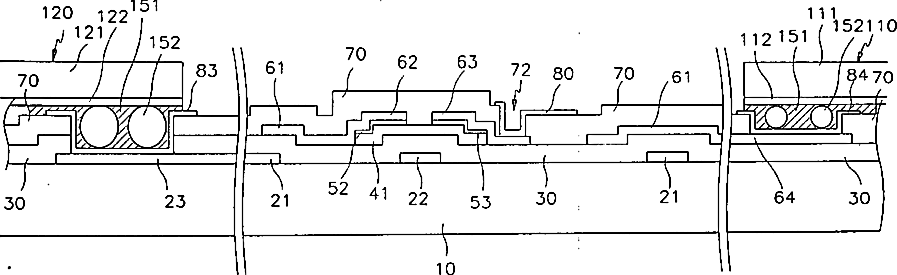
Liquid crystal display
授权日
1900-01-01
公开(公告)号
US20050007510A1
申请日
2004-05-24
公开(公告)日
2005-01-13
当前申请(专利权)人
SAMSUNG DISPLAY CO., LTD.
发明人
KIM, DONG-GYU | KIM, SANG-SOO | LEE, SANG-WOOK
简单同族
CN1200311C | CN1335534A | CN1603925A | JP2002116451A | JP4845295B2 | KR100385082B1 | KR1020020010215A | TW200523619A | TWI258051B | TWI295393B | US20020012079A1 | US20040008292A1 | US20050007510A1 | US20070121022A1 | US20090161057A1 | US6636288 | US6741309 | US7170570 | US7477351 | US9001300
简单同族成员数量
20
简单同族被引用专利总数
100
诉讼案件数
0
法律状态/事件
授权 | 权利转移
抱歉,您的浏览器不支持PDF预览,请点击链接下载PDF文件