专利数据库
统计分析
产业报告
专利数据监控
产业人才
行业动态
产业政策法规
维权援助
个人中心
详情
文本
图像
标题
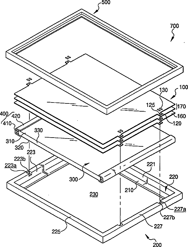
Backlight assembly using the same and liquid crystal display device
授权日
1900-01-01
公开(公告)号
US20050243238A1
申请日
2003-02-20
公开(公告)日
2005-11-03
当前申请(专利权)人
SAMSUNG DISPLAY CO., LTD.
发明人
CHA, GUY-HO | PARK, JONG-DAE | CHANG, SE-IN | LEE, SEOK-WON
简单同族
AU2003212659A1 | CN100376954C | CN1672091A | EP1535105A1 | JP2005534071A | JP4485358B2 | KR1020040009902A | US20050243238A1 | US7224416 | WO2004011997A1
简单同族成员数量
10
简单同族被引用专利总数
126
诉讼案件数
0
法律状态/事件
未缴年费 | 权利转移
抱歉,您的浏览器不支持PDF预览,请点击链接下载PDF文件