专利数据库
统计分析
产业报告
专利数据监控
产业人才
行业动态
产业政策法规
维权援助
个人中心
详情
文本
图像
标题
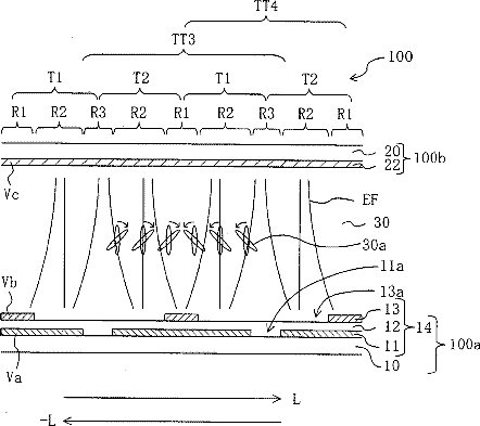
Liquid crystal display device
授权日
1900-01-01
公开(公告)号
US20050041186A1
申请日
2004-09-16
公开(公告)日
2005-02-24
当前申请(专利权)人
SHARP KABUSHIKI KAISHA
发明人
SHIMOSHIKIRYO, FUMIKAZU
简单同族
JP2001330833A | JP3656734B2 | KR100426197B1 | KR1020010090458A | TWI298813B | US20010033353A1 | US20050041186A1 | US6850301 | US7450207 | USR44470
简单同族成员数量
10
简单同族被引用专利总数
104
诉讼案件数
0
法律状态/事件
授权
抱歉,您的浏览器不支持PDF预览,请点击链接下载PDF文件