专利数据库
统计分析
产业报告
专利数据监控
产业人才
行业动态
产业政策法规
维权援助
个人中心
详情
文本
图像
标题
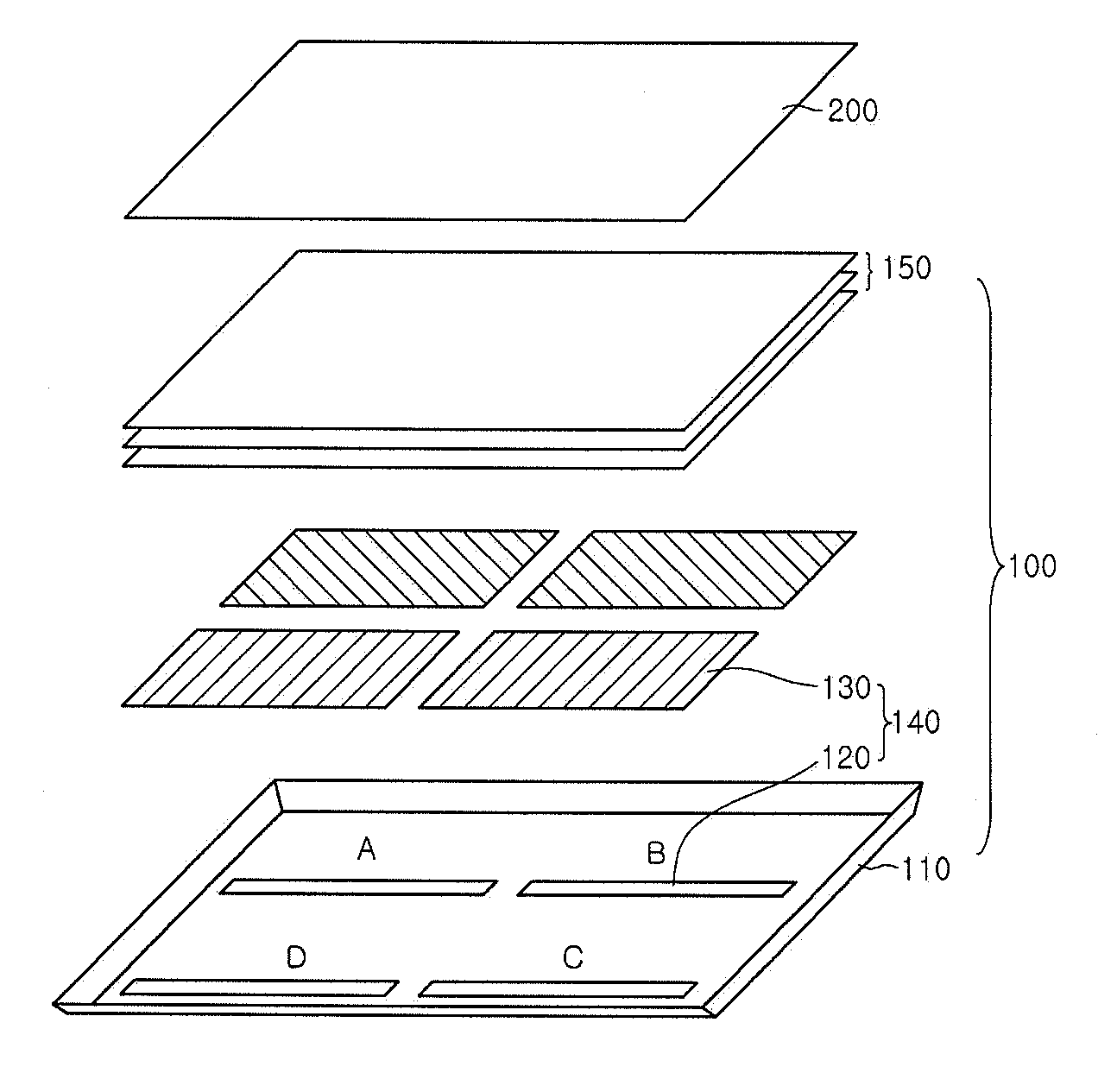
Backlight unit and liquid crystal display device having the same
授权日
1900-01-01
公开(公告)号
US20100045898A1
申请日
2008-12-12
公开(公告)日
2010-02-25
当前申请(专利权)人
LG. DISPLAY CO. LTD.
发明人
LEE, SUN HWA | KANG, MOON SIK
简单同族
US20100045898A1 | US8223296
简单同族成员数量
2
简单同族被引用专利总数
74
诉讼案件数
0
法律状态/事件
授权 | 权利转移
抱歉,您的浏览器不支持PDF预览,请点击链接下载PDF文件